
近日,Tims中国又有新动作:在上海开出了两家Tims“Coffee & Beer”门店。此外,多个品牌跨界饮品:和府捞面开了家“咖啡+拉面”便利快餐店,潮流IP SMILEY布局茶饮,蔚来申请注册咖啡商标。瑞幸推出新品生酪拿铁,上市首日销量破131万杯。本周还有哪些新鲜事?我们一起来看——
Tims“日咖夜酒”专门店上海开业近日,Tims中国在上海开出了两家Tims “Coffee&Beer”门店,主打“日咖夜酒”模式。门店外观方面,整体设计风格较为年轻,以年轻消费群体喜爱的飞盘和花盘用作装饰,店内还有许多“日咖夜酒”“早C晚A”“Coffee&Beer”的字样。
产品方面,除了常规的咖啡产品之外,该门店还提供31款啤酒和小食等产品,例如秋葵干、烤翅、薄饼、肉食拼盘等产品。Tims小程序显示,啤酒产品售价在25-58元之间,纸质菜单上的小食产品售价在12-68元之间。据门店工作人员介绍,该门店营业时间为早上7点至凌晨24点,咖啡和啤酒产品全天有售,可在小程序上点单。晚上5点后,店内会提供小吃品类。Tims中国相关负责人表示,Tims“Coffee & Beer”门店为Tims中国的新尝试,未来是否继续开更多的门店取决于门店的表现,目前还只是试验阶段。另外,对于现有Tims中国门店还是以咖啡门店的形式为主,不会改成“日咖夜酒”模式。(资讯源自北京商报)
跨界饮品又迎来新玩家1、和府捞面开了家“咖啡+拉面”便利快餐店和府捞面在上海外滩SOHO落地了新品牌“Pick ME”,用便利快餐店的形式卖咖啡和拉面。它由主打咖啡的“Pick ME 咖啡&热食”品牌与主打拉面便利店的“一杯拉面”品牌组合而成。和府捞面官网品牌介绍显示,前者定位为年轻族群与上班人士提供一杯好喝不贵的咖啡,后者为“3分钟可带走的一杯拉面”。
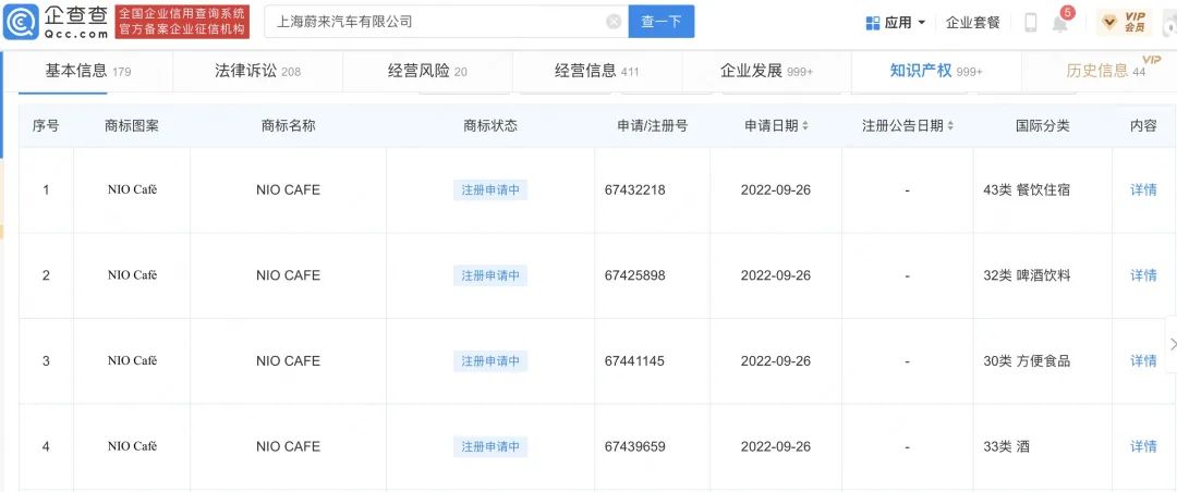
从官方小程序上看,Pick ME目前售卖的产品主要有面食、拌饭、小食、咖啡等。其中,咖啡品类有6款SKU,分别为Pick Me美式、Pick Me拿铁、浓浓榛果风味拿铁、大白梨特调生椰拿铁和微醺桑葚拿铁,售价在12-20元之间。(资讯源自联商网、界面新闻)2、潮流IP SMILEY布局茶饮近日,国际IP SMILEY旗下新式茶饮品牌SMILEY tea全球首店在北京朝阳大悦城正式开业。据相关负责人介绍,SMILEY tea是法国服饰品牌SMILEY旗下一家独立的新式茶饮品牌。目前,计划以直营的方式布局,暂未有开加盟的计划。继朝阳大悦城之后,SMILEY tea当前正在筹备北京的第二家门店,预计在岁末年初入市。(资讯源自北京商报)3、蔚来申请注册咖啡商标近日,上海蔚来汽车有限公司申请注册4枚“NIO CAFE”商标,国际分类为啤酒饮料、酒、餐饮住宿、方便食品,商标状态均为“商标申请中”。(资讯源自企查查)
瑞幸推出生酪拿铁上市首日销量破131万杯10月10日,瑞幸推出年度重磅咖啡——生酪拿铁。
据官方介绍,瑞幸在经历43次研发测评,构建全新拿铁风味轮廓后,生酪拿铁成为年度拿铁众测冠军。今年7月,生酪拿铁就已经部分城市做过众测,收获了一波好评。资料显示,生酪拿铁采用IIAC金奖豆浓缩咖啡,含有新西兰生干酪,相比经典原味拿铁,香味提升约16%。此外,此款新品与高人气动画《JOJO的奇妙冒险:石之海》联名,推出了限量款的杯套、纸袋、2款同系列礼品卡,位于上海黄浦区的联名主题门店也于上新当日开业。10月11日,瑞幸官方发布海报,新品生酪拿铁上市首日销量突破131万杯。
古茗在浙江成立贸易公司近日,浙江奇茗贸易有限公司成立,法定代表人为潘萍萍,注册资本5000万元人民币,经营范围包含:食品销售;货物进出口;计算机软硬件及辅助设备批发;电子产品销售等。企查查股权穿透显示,该公司由浙江古茗科技有限公司全资持股。
浙江古茗科技有限公司,于2010年在浙江省台州温岭成立,古茗是其旗下主营茶饮品牌,目前全国门店超6000家。(资讯源自企查查财经)
一椰子茶品牌获近千万元融资近日,椰子茶品牌茶大椰完成由青藤文化投资的近千万元融资,用于茶大椰国内门店拓展和市场布局。
公开资料显示,茶大椰隶属于深圳华伟达餐饮管理有限公司,该公司成立于2010年10月。茶大椰创办于2021年,是一个新式椰子茶品牌,以椰子和茶为主打、基于椰子的特性、回归茶的本质、定义和开创“椰子茶”。茶大椰在不到2年时间开出60+门店,2023年预计将拓展到300+门店。据悉,其团队核心高管均有10多年茶饮从业经历。依托团队成熟的运营管理,茶大椰在不到2年时间开出60+门店,2023年预计将拓展到300+门店。(资讯源自投资界)统筹|笑凡 编辑|张瑾 视觉|江飞





手机浏览中华饮品届













